Описание
Характеристики
Отзывы
Описание
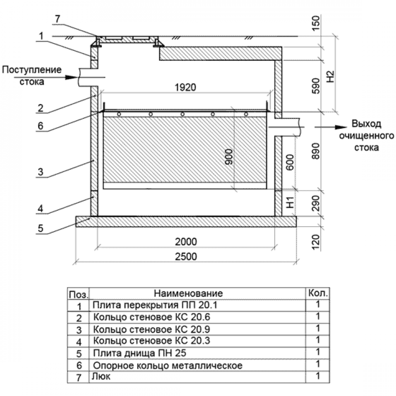
| Производительность | |
| м3/час | 16 - 32 |
| л/с | 4,5 - 9,0 |
| Загрузка | |
| Механическая, Vмех, м3 | Лавсан, Синтепон, 0.54 |
| Сорбционная, Vсорб, м3 | Уголь активированный, 1.1 |
| Механическая, Лавсан, кг | 19 |
| Механическая, Синтепон, пог.м | С-200 (ширина 1,5 м), 8 |
| Технические характеристики | |
| Материал корпуса | ПНД |
| Вес с загрузкой, кг | 389 |
| Диаметр по фланцу, D, мм | 1920 |
| Диаметр корпуса, d, мм | 1780 |
| Высота, H, мм | 900 |
| Высота, H max, мм | 1030 |
| Место установки | |
| Колодец дождеприемный, Dк, мм | 2000 |
Характеристики
Диаметр колодца
2000 мм
Тип очистки
комбинированный
Отзывы
Отзывов еще никто не оставлял
Сопутствующие товары
